Mazda's Radical Six-Stroke Hydrogen Engine: Turning Gasoline into Clean Power
Mazda's innovative six-stroke hydrogen-reforming engine offers eco-friendly power with zero tailpipe emissions, blending traditional driving with cutting-edge carbon capture technology.
Mazda, the automotive world's perennial contrarian, has done it again. While rivals rush towards electrification, the Hiroshima-based automaker is tinkering in the shadows with a concept so audacious it borders on alchemy: a six-stroke internal combustion engine that literally rips hydrogen molecules from ordinary gasoline, burns that hydrogen for power, and imprisons the leftover carbon inside the vehicle. Forget tailpipe emissions; this engine hoards carbon like a dragon guarding its treasure. Could this be the internal combustion engine's improbable lifeline, or just another fascinating footnote in Mazda's history of beautiful engineering madness?

At its core, Mazda's patented design tackles the fundamental problem of fossil fuels: carbon emissions. Instead of simply burning gasoline and venting CO2, this complex V6 engine orchestrates a multi-step chemical ballet:
-
Intake & Compression: Standard intake of air and fuel mixture, followed by compression.
-
First Combustion: Partial combustion occurs, generating heat but not completing the burn.
-
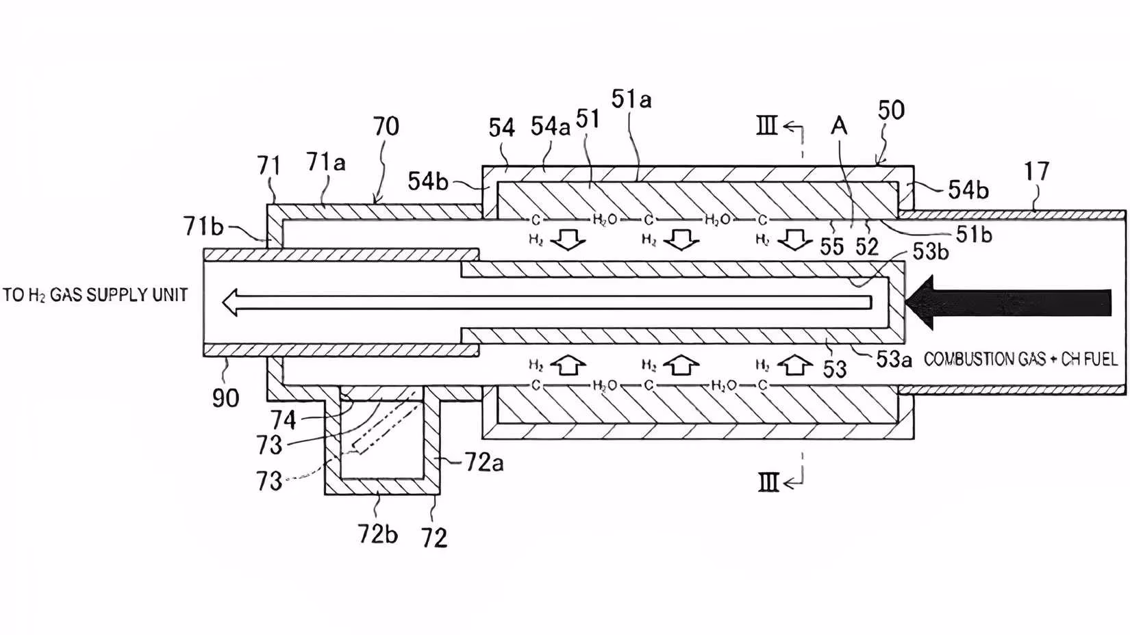
Reformation: The critical phase. The intense heat and pressure from the first combustion, combined with a specialized catalyst, trigger a reforming reaction. This process cracks the hydrocarbon molecules (C8H18 in gasoline) apart. Hydrogen (H2) is separated out.
-
Hydrogen Combustion: The extracted hydrogen is injected and ignited in a dedicated combustion event, providing the primary power stroke.
-
Expansion & Exhaust (of combustion gases): The piston moves down, harnessing energy, and spent gases (mostly water vapor and nitrogen) are expelled through the exhaust valve.
-
Carbon Capture & Storage: The leftover, solid carbon particles (C) are captured within the engine system. This isn't emitted; instead, it's collected and stored in an onboard tank – essentially bottled graphite. Drivers would periodically need to empty this carbon storage unit, akin to an oil change but removing solid carbon residue.
Diagram illustrating the compression stroke and reforming catalyst process in Mazda's patented engine. (U.S. Patent and Trademark Office)
The implications for consumers are profound, yet come with significant caveats:
-
Potential Environmental Benefit: Near-zero tailpipe CO2 emissions during operation. The captured carbon must be disposed of responsibly, but the process prevents its direct release into the atmosphere.
-
Fueling Convenience: Uses standard gasoline pumps. No need for scarce hydrogen refueling stations or lengthy EV charging stops. Fill up and go.
-
Preserving the ICE Experience: Maintains the driving characteristics – sound, feel, responsiveness – cherished by internal combustion enthusiasts.
-
The Complexity Conundrum: This is no simple powerplant. The system demands:
-
Multiple fuel injectors (for gasoline and hydrogen).
-
Sophisticated valve timing for the extra strokes.
-
Extremely high-temperature catalysts capable of driving the reforming reaction.
-
Robust carbon capture and storage mechanisms within the engine and vehicle.
-
Advanced engine management software controlling this intricate six-stroke dance. Reliability, cost, and packaging become major hurdles. Does this make a Swiss watch look like child's play? Quite possibly.
-
Diagram showing the complex gas supply unit required for Mazda's six-stroke hydrogen combustion engine. (U.S. Patent and Trademark Office)
Mazda's approach stands in stark contrast to the industry's prevailing winds. While giants pour resources into BEVs and PHEVs, and others cautiously explore hydrogen fuel cells or e-fuels, Mazda seems to be asking, "What if we could make the gasoline engine so clever, so fundamentally clean, that it earns its place in a decarbonized future?" It's a defiantly complex solution in an era often seeking simplicity. Is this Mazda's moonshot, a potential game-changer, or merely a brilliant engineering exercise destined for the patent archives?
-
The EV Challenge: Battery electric vehicles offer zero tailpipe emissions and are rapidly improving, but face challenges with charging infrastructure, grid capacity, raw material sourcing, and consumer range anxiety.
-
The Hydrogen Fuel Cell Alternative: Hydrogen fuel cells offer clean power and quick refueling, but the production, distribution, and storage of green hydrogen remain significant hurdles, and the driving experience differs from traditional ICE.
-
Mazda's Niche: Mazda's concept cleverly sidesteps the hydrogen infrastructure problem by generating hydrogen onboard from readily available gasoline. It aims to deliver the environmental benefits of hydrogen combustion without abandoning the existing liquid fuel ecosystem or the visceral feel of a piston engine.
Industry analysts remain cautiously intrigued but skeptical. The sheer complexity of Mazda's design raises significant questions about production viability, cost, long-term durability, and maintenance. Mazda has a history of filing fascinating patents that never see the light of day in a showroom. Furthermore, the practicalities for consumers – like the frequency and cost of carbon tank disposal – are unknowns. Will drivers embrace the idea of periodically emptying a bucket of carbon residue from their trunk? 🤔
A conventional Mazda CX-5 fuel lid. The hydrogen engine would still use standard gasoline pumps. (Youcanic | YouTube channel)
| Technology | Tailpipe CO2 | Fuel Source | Infrastructure | Driving Experience | Complexity |
|---|---|---|---|---|---|
| Mazda H2-ICE | Near-Zero | Gasoline (Onboard H2) | Existing Gasoline | Traditional ICE | Extremely High |
| Battery EV (BEV) | Zero | Electricity | Growing Charging | Quiet, Instant Torque | Moderate |
| Hydrogen Fuel Cell | Zero (H2O) | Hydrogen Gas | Very Limited | Quiet, Smooth | High |
| Hybrid (HEV/PHEV) | Reduced | Gasoline + Electric | Existing Gasoline | Blend of ICE/EV | High |
| Conventional ICE | High | Gasoline/Diesel | Existing Gasoline | Traditional ICE | Moderate |
Despite the hurdles, the potential payoff is immense. If Mazda can overcome the engineering challenges and bring this technology to market, it could offer a compelling alternative path to decarbonization. It preserves the internal combustion engine's soul and service ecosystem while drastically slashing its environmental impact. In a world where EV adoption faces headwinds and hydrogen infrastructure lags, Mazda's six-stroke hydrogen engine represents a uniquely Mazda-esque detour: complex, ambitious, and utterly fascinating. Is it the future, or a glorious dead end? Only time, and Mazda's relentless engineering spirit, will tell. For now, it stands as a testament to the idea that the internal combustion engine might still have a few revolutionary tricks left up its sleeve.
Leave a Comment